0 تصويتات
في تصنيف حلول مناهج بواسطة (1.2مليون نقاط)

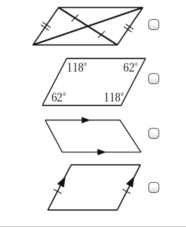
أي المعطيات التالية كافية ليكون الشكل الرباعي متوازي أضلاع : (يمكن اختيار أكثر من إجابة صحيحة) :

  

أي المعطيات التالية كافية ليكون الشكل الرباعي متوازي أضلاع : (يمكن اختيار أكثر من إجابة صحيحة) : 

لكل أبنائنا الطلاب الباحثين عن إجابة السؤال أي المعطيات التالية كافية ليكون الشكل الرباعي متوازي أضلاع : (يمكن اختيار أكثر من إجابة صحيحة) 

 

مرحباً بكم في موقع (( منصة علمية )) الذي يوفر لكم الإجابة الصحيحة والمعتمدة من قبل وزارة التربية والتعليم لكل أسئلتكم الدراسية وحلول الإختبارات النهائية والمركزية وذلك تحت إشراف معلمين ذو خبرة وكفائة لكافة المواد ولجميع المراحل الدراسيـة،،،،، وإليكم حل السؤال الاتي : أي المعطيات التالية كافية ليكون الشكل الرباعي متوازي أضلاع : (يمكن اختيار أكثر من إجابة صحيحة) 

    

 

 

حل السؤال : أي المعطيات التالية كافية ليكون الشكل الرباعي متوازي أضلاع : (يمكن اختيار أكثر من إجابة صحيحة) ؟ 

1 إجابة واحدة

0 تصويتات
بواسطة (1.2مليون نقاط)
 
أفضل إجابة

أي المعطيات التالية كافية ليكون الشكل الرباعي متوازي أضلاع : (يمكن اختيار أكثر من إجابة صحيحة) :

 

             // الاجابة الصحيحة هي // 

الشكل الثاني 

اسئلة متعلقة

11.8ألف أسئلة

11.7ألف إجابة

36 تعليقات

5.0ألف مستخدم

...